如何设置黑名单
佚名2018-05-28 15:47:02
功能说明
所有浏览过商品或店铺的访客将会统计在店铺后台的“客户管理”列表中,商家可自主将客户拉入黑名单或移出黑名单。拉入黑名单的客户可以正常浏览店铺和下单,但最终支付时提醒“支付失败”。
一、操作路径
会搜云店铺后台,客户-会员卡-客户管理
二、操作流程
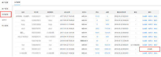
1、如何将客户加入黑名单
选择需要拉黑的客户,可以根据手机号、昵称进行查找;也可以根据会员身份、购买次数进行筛选。

确定需要拉黑的客户后,点击操作栏中的“拉黑”

“确认”拉黑

自动跳转到“黑名单列表”

注意:加入黑名单的客户,其账户余额、积分、会员卡一并冻结,不可以使用或提现。账号打通的情况下,在后台设置黑名单,小程序和微商城都将拉入黑名单。
会员管理列表中显示“已冻结”

2、如何将黑名单客户移出黑名单
选择需要移出的客户,确认后自动跳转到客户列表

三、手机页面展示


上一篇: 如何设置签到
下一篇: 无
为你推荐
-
暂无相关推荐信息
精选广告
暂无广告